Ну вы и жжете, пацаны....

Ну вы и жжете, пацаны....

здря... 
, никогда не закончиться 
sew62 писал(а):Так номера подшипников кто напишет. А масло накройняк и из маслянного бачка можно пол литра взять.

Вакутагин писал(а):Ну блин Вы даете, так здорово тема началась, и так свернулась. Здорово фотосессия ремонта коробки получилась, и столько говорильни потом. Вообще мне кажется больше половины страниц можно было бы просто расписать по двум другим темам «снимать или не снимать пыльник (или сальник, или еще как Вы его назвали) и «у кого где брызжет». Не уважаемые, серьёзно, захочется уму разуму набраться, а здесь опять трёп получается (простите за выражение) как на «сноумобайле».


ppaganell писал(а):Спасибо!
Надеюсь не понядобятся.
Но кто предупреждён тот вараужон
ulukitkan писал(а):Juri K писал(а):Костя ты пыльник содрал с подшипника когда шестерню снимал? И вообще он там был или нет? А то говорили, что после 2008 года выпуска Япы сами его сняли..........
П.С. Вк то поехал?
Я содрал, Юр, когда одометр показывал 7500. На 10000 км оба подшипника накрылись. Лопнули наружные обоймы вдоль. 15 часов провел под елкой на 30-ти градусном морозе. Надо было раньше их скинуть, да жалко было лезть в новый снеж.

Wolf51 писал(а):ulukitkan писал(а):Juri K писал(а):Костя ты пыльник содрал с подшипника когда шестерню снимал? И вообще он там был или нет? А то говорили, что после 2008 года выпуска Япы сами его сняли..........
П.С. Вк то поехал?
Я содрал, Юр, когда одометр показывал 7500. На 10000 км оба подшипника накрылись. Лопнули наружные обоймы вдоль. 15 часов провел под елкой на 30-ти градусном морозе. Надо было раньше их скинуть, да жалко было лезть в новый снеж.
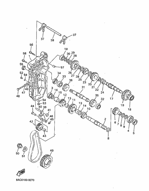
Саш, чето не могу разобраться какие именно подшипники с пыльниками - сальниками, которые у тебя полетели!!! Напиши пожалуйста номера которыми они обозначены, хочу заказать до кучи!!!
Вернуться в Народный мануал VK-540
Сейчас этот форум просматривают: нет зарегистрированных пользователей и гости: 0