Kirdyk писал(а):Спасибо.Действительно крещение).Зато будет что детям рассказать перед сном).Шли по звездам,точней по одной самой яркой,кажется полярная)

Она там вроде сварная из прута примерно 8 - 10 мм. Теперь моторчик только вертикален( и то не полностью)КАЮр писал(а):Подскажите , как правильно называется на ПЛМ та х р е н ь. которая фиксирует мотор в приподнятых положениях при движении по мелководью. И продаются ли эти ... в Мурманске. Ямаха40. Блин, согнули, а потом поломали.Она там вроде сварная из прута примерно 8 - 10 мм. Теперь моторчик только вертикален( и то не полностью)

zahar писал(а):На выходных в очередной раз стукнул об камушек на ВТВ свою тоху 5, последствия - царапка на сапоге,на винте,и скорости не переключаются,заклинило на в "перед" ,но едет. Посторонних шумов не замечено.Чего там может быть со скоростями?

zahar писал(а):Анатолий, после удара,ручка-рычаг переключения ходит-болтается в холостую а скорость включена всегда в перед.
STORM писал(а):zahar писал(а):Анатолий, после удара,ручка-рычаг переключения ходит-болтается в холостую а скорость включена всегда в перед.
Поскольку рычаг-всего лишь пластмасска,снять колпак и глянуть (по идее должно быть видно) не разрушилось ли соединение вертикальной тяги с рычагом..... Это первое....
Второе-на дейдвуде кажется есть технологическая заглушка,без понятия,но что то типа круглой резиновой пробки.Выковыряв её по идее должно быть виден разьём всё той же вертикальной тяги,возможно с ним что то.....
Пока больше мыслей нет......

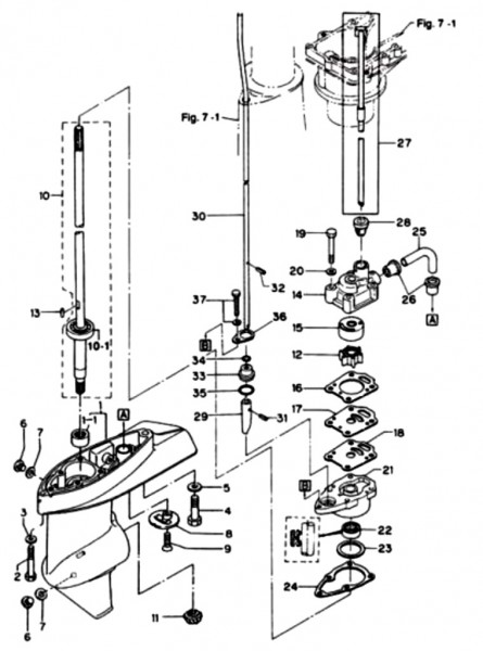
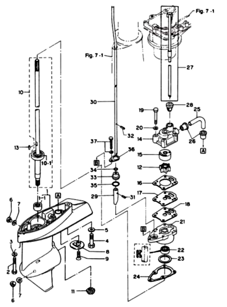
Елена, Мурманск писал(а):Вот вам ваш сапог, редуктор и тяги...
прислушайтесь к совету Анатолия
завтра разберем-посмотримzahar писал(а):Елена, Мурманск писал(а):Вот вам ваш сапог, редуктор и тяги...
прислушайтесь к совету Анатолия
Елена, спасибо,схема имеетсязавтра разберем-посмотрим
не забудьте в фотках выложить что случилось 
Елена, Мурманск писал(а):zahar писал(а):Елена, Мурманск писал(а):Вот вам ваш сапог, редуктор и тяги...
прислушайтесь к совету Анатолия
Елена, спасибо,схема имеетсязавтра разберем-посмотрим
![]()
не забудьте в фотках выложить что случилось
Вернуться в Лодочные подвесные моторы и стационарные двигатели.
Сейчас этот форум просматривают: нет зарегистрированных пользователей и гости: 3